• headset_mic klantenservice
  • shopping_cart
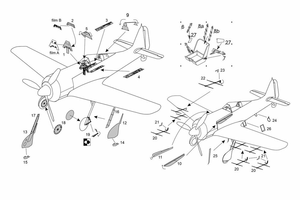
  • Fw-190A-8/R-11 (Revell kit)

    Kortingsweken bij Revellspecialist – mis het niet!

    Van 21 november 2025 t/m 17 december 2025 houden we bij Revellspecialist kortingsweken. Op verschillende dagen geven we één dag lang korting op specifieke merken waarvan we nog van sommige merken nog maar een beperkte voorraad hebben. Alle kortingen gelden:✔ alleen op eigen voorraad, alleen op de aangegeven merkdagen, op = op, Modelbouwpaleis-artikelen zijn uitgesloten

    Tijdens deze weken komen onder andere voorbij:
    Aoshima, Italeri Vliegtuigen/Militair, Tamiya bouwdozen, Revell bouwdozen (Black Friday), Zvezda, Trumpeter, Hasegawa, Fujimi, Das Werk, Meng, RFM, Nunu, AMT en Airfix.

    Wil je niets missen?
    Volg ons op Instagram en Facebook, of word lid van onze nieuwsbrief voor alle updates en herinneringen.

    Artikelnummer: BRL72281
    € 8,95
    Levertijd 7 werkdagen

      Vraag over levertijd of artikel?

      Bel ons op of Stuur een mail

      Omschrijving

      Fw-190A-8/R-11 (Revell kit)

      Productspecificaties

      Fabrikant:Brengun
      Artikelnummer:BRL72281
      EAN:8595683909624
      Schaal:1:72
      Inclusief btw

      Meest gestelde vragen

      Onze betrouwbaarheid wordt bevestigd door:

      • Onafhankelijke Google Reviews

      • Positieve klantbeoordelingen op onze website

      Zeker. Wij helpen je graag met persoonlijk advies over modelbouwdozen, verfkeuze, technieken en accessoires. Stuur dan een mail naar ons, klik hier.

      Neem in dat geval contact met ons op. Wij lossen problemen snel en netjes op en denken altijd in oplossingen.

      Ja, retourneren is mogelijk volgens de geldende voorwaarden. Stuur het product in een goed verpakt doos terug met uw naam en bestelnummer bijgevoegd. Producten dienen ongebruikt en compleet te worden geretourneerd.

      Wat zijn de verzendkosten?

      • Nederland onder €125,-: €7,25

      • Nederland vanaf €125,-: gratis verzending

      • België: €9,95

      • Andere landen: op aanvraag

      Bestellingen die voor 16:00 uur worden geplaatst, worden dezelfde werkdag verzonden.

      Hoe lang duurt de levering?

      • Nederland: levering binnen 1–2 werkdagen

      • België: levering binnen 1–2 werkdagen

      Nee, verf en lijm zijn meestal niet inbegrepen, tenzij dit expliciet wordt vermeld bij een gift set. Zo kun je zelf bepalen welke technieken en producten je gebruikt.

      Het bouwlevel geeft aan hoeveel ervaring nodig is om de kit te bouwen.

      • Lage levels zijn geschikt voor beginners

      • Hogere levels bieden meer detail en uitdaging voor gevorderden

      Ons assortiment is geschikt voor alle niveaus, van beginnende modelbouwers tot zeer ervaren bouwers. Bij elke modelbouwdoos staat het bouwlevel duidelijk vermeld.

      Revellspecialist.nl is gespecialiseerd in plastic modelbouw. Je vindt bij ons modelbouwdozen, verf, lijm, gereedschap en accessoires van bekende A-merken zoals Revell, Tamiya, Vallejo, Italeri en ModelCraft.